Применение датчиков систем СТРУНА+ позволяет реализовать нормативные требования экологической и пожарной безопасности.
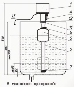
Контроль утечек в двустенных резервуарах с заполненным тосолом межстенным пространством осуществляется ДПУ-Ц и ДПУ1-Ц (рис. 1, 2) с датчиками уровня и температуры. ППП1 для межстенного пространства устанавливается в расширительный бачок. Для подключения используется отдельный канал системы СТРУНА+ или магистральное подключение непосредственно к ППП1. Установочные размеры фланца аналогичны фланцам ППП1 для АЗС. Типовой рабочий диапазон измерения уровня – 400 мм при креплении на фланце и 300 мм при креплении на гайке. При заказе ДПУ-Ц с другими размерами, следует указать требуемые характеристики в бланке заказа.
Контроль утечек в трубопроводах, находящихся под давлением, осуществляется с помощью датчика давления ДД1-02. Для сигнализации при появлении утечек можно воспользоваться функциональными возможностями БУ2 или функциональными возможностями программного обеспечения установленного на персональный компьютер.
2 - БДУ-Ц
3 - шина заземления
4 - кабель ДПУ-Ц - КК1
5 - поплавок уровня
6 - верхнее ограничительное кольцо
7 - нижнее ограничительное кольцо
9 - фланец
10 - прокладка
11 - гайка
12 – прокладка
13 – шина заземления
Контроль утечек в двустенных резервуарах с заполненным инертным газом межстенным пространством осуществляется датчиком давления.
| Вариант | D, мм | D1, мм | D2, мм |
| 1 (типовое исполнение) | 210 | 180 | 160 |
| 2 | 140 | 120 | 100 |



